NEWS CENTER
新闻中心发布时间:2022-04-18 3585 次浏览
现代坦迪斯自动变速箱(山东)有限公司根据《中华人民共和国清洁生产促进法》、山东省生态环境厅《关于下达2022年度山东省实施强制性清洁生产审核企业名单的通知》(鲁环字〔2022〕32号)和日照市生态环境局《关于做好2022年强制性清洁生产审核工作的通知》(日环函[2022]4号)文件要求开展清洁生产审核工作,公司自觉履行环境保护义务,主动接受社会监督,按照法律法规以及标准等要求,结合我公司实际生产情况,现将内容公示如下:
(一)企业基本信息
单位名称:现代坦迪斯自动变速箱(山东)有限公司
法人代表:李荣珍
企业地址:山东省日照市经济开发区重庆路333号
(二)使用有毒有害原料的名称、数量、用途情况
2021年度企业使用有毒有害原料的名称、数量、用途情况如下表
类别 | 序号 | 名称 | 2021年 |
增资建设30万台/年变速箱项目 | |||
原辅材料 | 1 | 壳体铝压铸件 | 4974 |
2 | 润滑油 | 10 | |
3 | 润滑脂 | 1.05 | |
4 | 切削冷却液母液 | 55.2 | |
5 | 机油 | 40 | |
6 | 清洗液母液 | 14.3 | |
变速箱生产技改扩建项目 | |||
原辅材料 | 1 | 壳体铝压铸件 | / |
2 | 润滑油 | 5.6 | |
3 | 润滑脂 | 0.24 | |
4 | 切削冷却液母液 | 2.32 | |
5 | 清洗液母液 | 70800 | |
增资建设年产40万台无级自动变速箱项目 | |||
原辅材料 | 1 | 部件清洗液(CD-90DN/235A/CMC2) | 63200 |
2 | 清洗油 | 70800 | |
3 | 液压油 | 2.2t | |
4 | 润滑油 | 5.6 | |
5 | 防锈油 | 12 | |
6 | 硝酸 | 0.95 | |
7 | 酒精 | 320 | |
8 | 乙炔 | 24.96 | |
9 | 氮气 | 483.72 | |
10 | 氢气 | 640 | |
11 | 氦气 | 氢氦混合气,单位瓶 | |
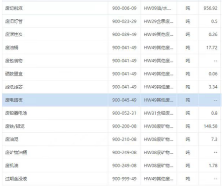
(三)危险废物产生和处置情况
项目产生危废收集暂存于危废暂存间,转移时委托有资质单位处理。2021年度企业危险废物产生情况如下表。

(四)落实环境风险防控措施情况
现代坦迪斯自动变速箱(山东)有限公司签署发布了突发环境事件应急预案,并在日照市生态环境局莒县分局备案,并制定了应急演练计划。
现代坦迪斯自动变速箱(山东)有限公司
2022年04月18日